征集疫情防控放开后的阳性治疗真实感受
随着疫情的防控的放开,身边做核酸的场所变少,身边朋友阳了的身体状况写一篇八卦文章
疫情三年时间,投入了太多了,国内经济体系衰调,在人类文明的进程中,大大小小的疫情也发生了很多次。2003年的非典一共持续了1年零8个月的时间,最严重的时期有8个月。结核病可以算作是世界上最古老的疾病之一,人类与肺结核的斗争已经持续了几千年。
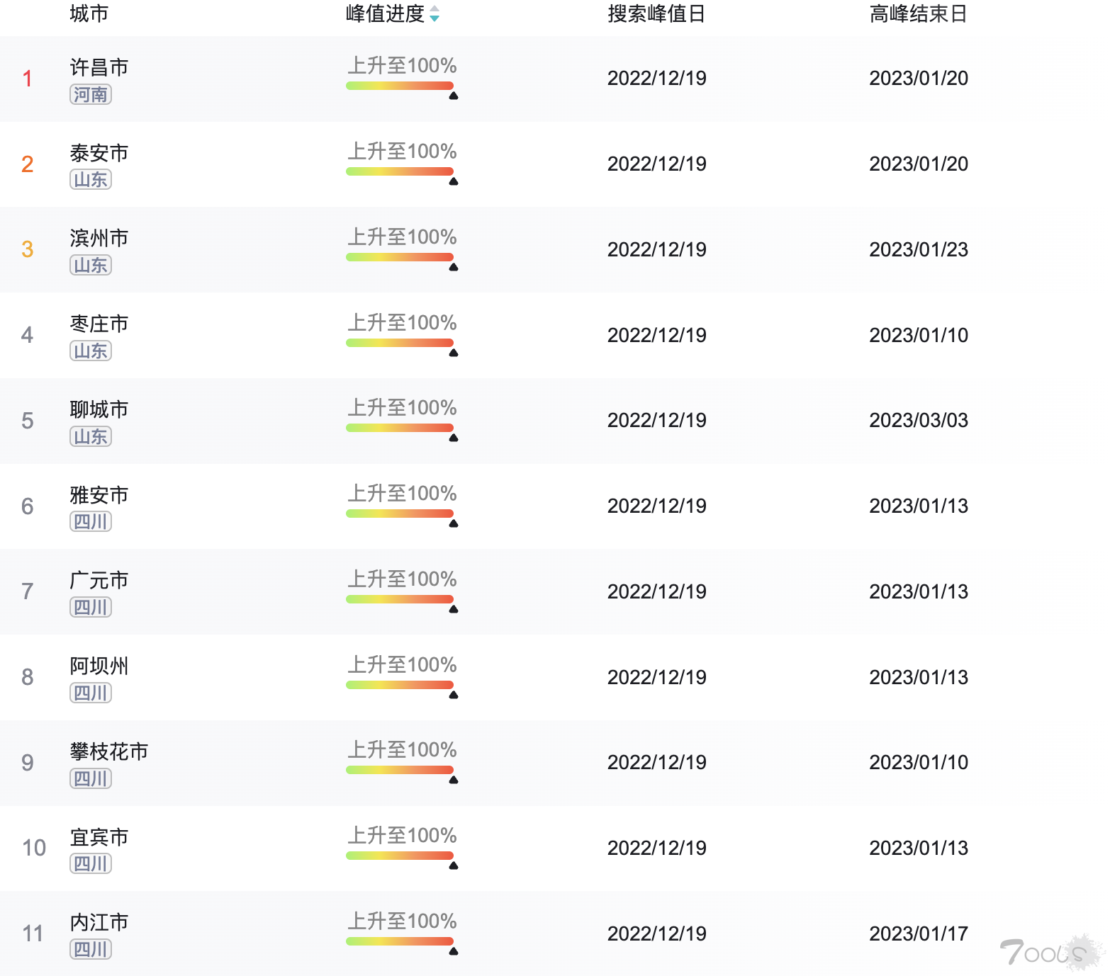
全国各城市疫情搜索高峰进度
取消大规模核算检测有二十来天了吧!身边的阳性,以及公司的阳性病例每日日益增多,各种症状也随机而来,全身疼的,脑袋疼的,以及咽喉像刀割的,再次征集一下各位感染了阳了的朋友们,发出自己的感受,以及治疗方向,到底吃什么药起作用,什么药不起作用。
超的最热的布洛芬
感冒零
莲花清瘟
此类药也是上新闻和短视频最多的药了,真的起作用吗?因为本人并没有阳,所以没有吃过这些药,也没有屯药,特此征集一下,各位老友们,最后会把征集有用的药写到文章最下面,希望能帮助到阳了的朋友们,评论区写出你最真实感感受,不要带颜色和夸张手法。
=====================================================
管理团队注:
疫情期间,大家多多注意身体。
支持此帖,大家可以分享抗疫经验。










评论109次
布洛芬副作用比较大,高烧不退的时候用,尽量少吃莲花清瘟在病症早期不要吃,没用,中后期吃才有效感冒灵无所谓,有对应的症状就可以吃最后就是一定要多喝水,少量多次,但是别喝的太多,一天有个2000mL左右就行,有人水喝太多导致中毒----------------------补充--------------------------看见有人提到了风寒风热,这里再从中医的角度补充一些吧新冠其实不能单一的说属于风寒还是风热,大多数人的情况是早期为风寒,中后期会转变为风热(也有少数不转变),具体情况要对症分辨(自己把握不准可以找中医看一下)为什么网上有些人说吃连花清瘟没用,就是因为早期大多数人都还处于风寒的状态,所以药不对症,中后期大多转为风热,此时用药恰到时机(连花清瘟我自己没吃过,我朋友中后期吃了确实有效果)看见有人说买不到药怎么办,土方子有很多,最有效的就是早期还没有转为风热之前,自己在家熬葱白生姜红糖水喝最后提一句如果长时间低烧不退可以吃复方氨酚烷胺胶囊(高烧才吃布洛芬)
莲花清瘟屁用没有,吃了还拉肚子。
第一晚感觉怕冷,然后第二天就发现发烧了。温度最高的时候,39.3. 高温时候服用一颗布洛芬即可。第二晚睡觉发现双腿肌肉酸痛。很难入睡,双腿小肚子处酸胀明显,无处安放。第三天发现低烧持续38°左右。发现嗓子开始干燥,并出现偶尔咳嗽的情况。多喝热水即可。无需用药治疗。某花清温不建议服用,根本没有任何作用,哗众取宠的神药而已。当晚睡觉,感觉在被子里发热,出了一身汗。第四天早晨测量体温已经降至37.7左右。明显感觉走路也不飘了。 目前第四天。
阳的人身体不舒服,阴的人精神不正常最痛苦的不是阳没阳是你身边都阳了你也明确和他们密接了但是你依然没有什么症状然后你一会儿觉得嗓子不舒服一会儿觉得浑身酸痛不断的喝水 时不时量一下体温测一下抗原你满脑子都是:我阳没阳 我是不是阳过了
公司越来越多阳了,感觉去公司就是增加阳的几率,工位上上瑟瑟发抖。周围的同事都阳了,就好像同事都慷慨上前线了,叫我留下来断后。
我应该是在12月17-20多号,左右。才开始就是感冒了。没有网上说的那么难受。公司请假两天加上周末。周岁开始下午就直接睡。睡到第二天。晚上,吃了点水果。接着睡。睡到第三天。这时候已经是好了个七成左右了。就纯睡了两天,没吃药。后面没有发烧。就是有点咳嗽。流鼻涕。然后就好了。
国家放开那一段时间我都没有出去,意外的是我居然阳了,然后我家也没有备药硬抗了一个晚上头痛的睡不着觉,基本没有睡然后第二天出去买了点药吃第三天就差不多就好了 我感觉也就是第一天难受点
第一天全身疼,第二天高烧,第三天高烧,第四天好了,第五天后鼻塞咳嗽,之后就差不多了
刚刚开始一直低烧持续了2天然后高烧39.6难受了2天,在床上躺了2天,嗓子剧痛
上次这么痛苦还是烧伤。感染后夜里咽喉疼痛睡不着吃药副作用头疼流汗满背。
12月底阳的,现在转阴,咳嗽的厉害,吃抗生素没效果。
没用抗原测但是从症状上来看就是新冠了,没打疫苗,39度了两天然后退烧,嗓子痛咳嗽,大概一周基本恢复正常但是还有一点咳嗽有痰没完全好利索
阳了两周了,现在嗓子还不舒服。 发烧了四天,每天晚上要么睡不着,要么夜里醒好几次,说不清楚为啥醒来,就是难受 退烧了的后三天,每天晚上睡着后都会出大量的汗,吃了药症状有所好转 发烧的那几天躺在床上啥也不想做,浑身难受。没有具体哪儿难受,哪哪儿都难受
阳了第一天的中午还能包饺子,下午就嗝屁了。提前吃了氨酚烷胺,但还是高烧,剧烈的头疼(疼到脑袋没地方放的那种)还有下半身疼痛,一晚都没睡好。第二天早上退烧,觉得自己又行了,浪了半天,下午又开始低烧,但是没有第一天那么难受,之后就是剧烈的咳嗽、鼻塞还有味觉降低。现在都十多天了,稍微冷一下鼻塞和咳嗽就会加重。
第一天胃寒 特别怕冷脚捂不热 看网上说的就烧了一壶水泡脚 然后脚就热乎了 肩膀酸痛 贴了活血止痛贴 躺被窝里 然后下午就发烧了 一量38.5 赶紧吃布洛芬缓释胶囊 两个小时过去了一测体温 降了0.5度 mmp的 硬扛还能怎么办 晚上点了外卖吃了就睡 一直发烧38.5-39.5之间来来回回 人都烧麻了 直到第二天吃晚饭才降温 吃完晚饭又开始烧 热后躺被窝里 终于开始冒汗了 还是发高烧 准备物理降温 冷水毛巾拧干了就擦脸擦额头擦脖子耳朵 真烫的不行 一番操作下来降了一点点 再吃一粒布洛芬 第二天起来就好了 然后抽烟一股怪味 嗅觉出问题了 到现在一个星期了嗅觉还没好 建议没事吃点水果 热水稍微喝一点就可以了 反正我基本没喝热水
高烧了三天,然后就不烧了,身体虚,腰酸疼,头疼。阳了一周后,骑车比平时累很多,晚睡会很难受
个人症状暂不明显,无药无试剂,也是比较幸运了
烧了三天,地狱模式,转头就能睡着,但是又睡得不会很好,全身难受,三天肉眼可见的瘦了下来~
有说,短期连续复阳多次..3次以上...免疫xi统连续被日穿,得不到恢复,人可能要完蛋。
我自己症状不明显,阳了2天,建议服用中药,小青龙汤之类的,淘宝可购。
本人亲身实践不吃药也能好!在对自己身体状况掌握百分之80的情况下,我是前期直接发高烧,高烧到39度多,当时买不到任何药包括抗原跟体温计,所以我选择了跟命运做抗争硬挺!当时发烧最严的时候几乎什么都不干,就是睡觉,总出现发烧给自己烧醒,醒了就喝水,喝完继续睡,不要憋尿还是,睡了俩天基本上发烧全退了,也没有出现疼痛和咽喉痛,我感觉我这已经算是喜洋洋了吧,除了发烧吃了点橘子,其他任何药都没吃
阳康遇见阳过 不能舒服三天
阳康后第7天。刚转阴的那几天整夜咳嗽,简直没法正常睡觉,第4天突然大幅好转,到目前为止还是偶尔咳嗽。阳康以后没有再吃过药了。
已阳过,啥正装吃啥药。当然这个病。。好像不吃药也能好,就布洛芬最多3粒就够
布洛芬片主要是退烧,布洛芬释缓胶囊主要是止痛